Hyundai Genesis (DH): Starting System / Starter Repair procedures

Removal
1.
Turn ignition switch OFF and disconnect the negative (-) battery cable.
2.
Remove the RH engine manifold.
(Refer to Engine Mechanical System - "Exhaust Manifold")
3.
Remove the engine support bracket (A) after loosening the install bolt and nut.

4.
Disconnect the starter connector (A) and cable (B) from the 'B' terminal.

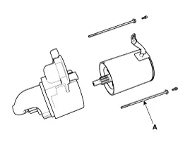
5.
Remove the starter (B) after removing the mounting bolts (A).

Installation
1.
Install in the reverse order of removal.

Starter installation bolt:
49.0 ~ 63.7 N.m (5.0 ~ 6.5 kgf.m, 36.2 ~ 47.0 lb-ft)
Starter cover installation bolt:
8.8 ~ 13.7 N.m (0.9 ~ 1.4 kgf.m, 6.5 ~ 10.1 lb-ft)
Engine mounting insulator upper nut :
63.7 ~ 83.4 N.m (6.5 ~ 8.5 kgf.m, 47.0 ~ 61.5 lb-ft)

Disassembly
1.
Disconnect the M-terminal from the magnet switch assembly.

2.
After loosening the 3 screws (A), detach the magnet switch assembly (B).

3.
Loosen the through bolts (A).

4.
Remove the brush holder assembly (A), yoke (B) and armature (C).

5.
Remove the shield (A).

6.
Remove the lever plate (A) and lever packing (B).

7.
Disconnect the planet gear (A).

8.
Disconnect the planet shaft assembly (A) and lever (B).

9.
Press the stop ring (A) using a socket (B).

10.
Remove the stopper (A) using the stopper pliers (B).

11.
Disconnect the stop ring (A), overrunning clutch (B), internal gear (C) and planet shaft (D).

12.
To reassemble, reverse the order of disassembly.
   
Using a suitable pulling tool (A), pull the overrunning clutch stop ring (B) over the stopper (C).

Inspection
Starter Solenoid Inspection
1.
Disconnect the lead wire from the M-terminal of solenoid switch.
2.
Connect the battery as shown. If the starter pinion pops out, it is working properly.
   

    Inspection 1. Turn ignition switch OFF and disconnect the negative (-) battery cable. 2. Remove the fuse box cover. 3. Remove the starter relay (A).

    Other information:

    Hyundai Genesis (DH) 2013-2016 Service Manual: Start/Stop Button Repair procedures

    Removal 1. Disconnect the negative(-) battery terminal. 2. Remove the driver crash pad lower panel. (Refer to Body - "Crash Pad Lower Panel") 3. Remove the start/stop button (A) from the center fascia garnish after loosening the mounting clip.

    Hyundai Genesis (DH) 2013-2016 Service Manual: Mode Control Actuator Repair procedures

    Inspection 1. Turn the ignition switch OFF. 2. Disconnect the mode control actuator connector. 3. Verify that the mode control actuator operates to the defrost mode when connecting 12V to terminal 3 and grounding terminal 4. Verify that the mode control actuator operates to the vent mode when connected in reverse.

    Categories

     
    Copyright В© 2026 www.hgenesisdh.com - 0.0251