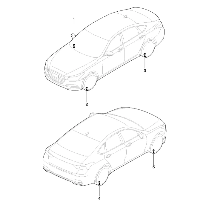
Hyundai Genesis (DH): Tire Pressure Monitoring System / Components and Components Location

Components

1. Receiver
2. TPMS Sensor (FL)
3. TPMS Sensor (RL)
4. TPMS Sensor (RR)
5. TPMS Sensor (FR)

    Description Tread Lamp - Tire Under Inflation / Leak Warning. 1. Turn-on condition A. When tire pressure is below allowed threshold B. When rapid leak is detected by the sensor.

    Other information:

    Hyundai Genesis (DH) 2013-2016 Service Manual: PGS Unit (Back & Blinde Unit) Repair procedures

    Removal 1. Disconnect the negative (-) battery terminal. 2. Remove the glove box housing (A). (Refer to Body - "Glove Box") 3. Remove the PGS unit (A) after loosening the nuts. Installation 1. Install the PGS unit. 2. Install the glove box housing.

    Hyundai Genesis (DH) 2013-2016 Service Manual: Auto Defogging Actuator Repair procedures

    Inspection 1. Turn the ignition switch OFF. 2. Disconnect the auto defogging connector. 3. Verify that the auto defogging actuator operates to the open position when connecting 12V to terminal 3 and grounding terminal 4. Verify that the auto defogging actuator operates to the close position when connected in reverse.

    Categories

     
    Copyright В© 2026 www.hgenesisdh.com - 0.031