Hyundai Genesis (DH): Cylinder Head Assembly / CVVT Assembly Description and Operation

Description
Continuous Variable Valve Timing (CVVT) system advances or retards the valve timing of the intake and exhaust valve in accordance with the ECM control signal which is calculated by the engine speed and load.
By controlling CVVT, the valve over-lap or under-lap occurs, which makes better fuel economy and reduces exhaust gases (NOx, HC). CVVT improves engine performance through reduction of pump loss, internal EGR effect, improvement of combustion stability, improvement of volumetric efficiency, and increase of expansion work.
This system consists of
-
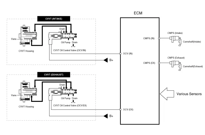
the CVVT Oil Control Valve (OCV) which supplies the engine oil to the cam phaser or drains the engine oil from the cam phaser in accordance with the ECM PWM (Pulse With Modulation) control signal,
-
the CVVT Oil Temperature Sensor (OTS) which measures the engine oil temperature,
-
and the Cam Phaser which changes the cam phase by using the hydraulic force of the engine oil.
The engine oil released out of the CVVT oil control valve changes the cam phase in the direction (Intake Advance/Exhaust Retard) or opposite direction (Intake Retard/Exhaust Advance) of the engine rotation by rotating the rotor connected with the camshaft inside the cam phaser.

Operation Principle
The CVVT has the mechanism rotating the rotor vane with hydraulic force generated by the engine oil supplied to the advance or retard chamber in accordance with the CVVT oil control valve control.

[CVVT System Mode]

(1) Low Speed / Low Load
(2) Part Load


(3) Low Speed / High Load
(4) High Speed / High Load



Driving
Condition
Exhaust Valve
Intake Valve
Valve
Timing
Effect
Valve
Timing
Effect
(1) Low Speed
/Low Load
Completely
Advance
* Valve Under-lap
* Improvement of combustion stability
Completely
Retard
* Valve Under-lap
* Improvement of combustion stability
(2) Part Load
Retard
* Increase of expansion work
* Reduction of pumping loss
* Reduction of HC
Retard
* Reduction of pumping loss
(3) Low Speed
/High Load
Retard
* Increase of expansion work
Advance
* Prevention of intake back flow (Improvement of volumetric efficiency)
(4) High Speed
/High Load
Advance
* Reduction of pumping loss
Retard
* Improvement of volumetric efficiency

    Components 1. RH exhaust CVVT2. RH intake CVVT3. LH intake CVVT4. LH exhaust CVVT

    Removal Continuous Variable Valve Timing (CVVT) 1. Remove the timing chain. (Refer to Timing System - "Timing Chain") 2. Remove the CVVT assembly.

    Other information:

    Hyundai Genesis (DH) 2013-2016 Service Manual: Description and Operation

    Description Integrated Rain Sensor Integrated rain sensor (A) controls three systems: front wiper, auto-light, and central air conditioner. 1. Wiper Control System When "AUTO" switch signal is received from the multi-function switch on the right, the integrated rain sensor detects the amount of rainfall.

    Hyundai Genesis (DH) 2013-2016 Service Manual: Console Temperature Control Actuator Repair procedures

    Inspection 1. Turn the ignition switch OFF. 2. Disconnect the console temperature control actuator connector. 3. Verify that the console temperature control actuator operates to the defrost mode when connecting 12V to terminal 3 and grounding terminal 4.

    Categories

     
    Copyright В© 2026 www.hgenesisdh.com - 0.0315