Hyundai Genesis (DH): Brake System / Brake Pedal Repair procedures

Removal
1.
Turn ignition switch OFF and disconnect the negative (-) battery cable.
2.
Remove the crash pad lower panel.
(Refer to Body - "Crash Pad Lower Panel")
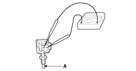
3.
Disconnect the stop lamp switch connector (A).

4.
Remove the brake pedal member mounting nut (A).

Tightening torque :
19.6 ~ 25.5N.m (2.0 ~ 2.6kgf.m, 14.5 ~ 18.8lb-ft)

5.
Remove the snap pin (A) and clevis pin (B).

6.
Remove the brake pedal member assembly mounting nuts and then remove the brake pedal assembly.

Tightening torque :
16.7 ~ 25.5 N.m (1.7 ~ 2.6 kgf.m, 12.3 ~ 18.8 lb-ft)

Inspection
1.
Check the bushing for wear.
2.
Check the brake pedal for bending or twisting.
3.
Check the brake pedal return spring for damage.
4.
Check the stop lamp switch.
(1)
Connect a circuit tester to the connector of stop lamp switch, and check whether or not there is continuity when the plunger of the stop lamp switch is pushed in and when it is released.
(2)
The stop lamp switch is in good condition if there is no continuity when plunger (A) is pushed.

Installation
1.
To install, reverse the removal procedure.
2.
Adjust the brake pedal height and free play.
3.
Check the brake pedal operation after installing the brake pedal.

    Components 1. Brake pedal member assembly2. Stop lamp switch3. Clevis pin4. Snap pin5. Brake pedal stopper6. Return spring7. Bolt

    Components 1. Caliper body2. Guide pin3. Locking pin4. Brake pad5. Cover plate 6. Pad spring7. Bleed screw

    Other information:

    Hyundai Genesis (DH) 2013-2016 Service Manual: License Lamps Repair procedures

    Removal 1. Disconnect the negative (-) battery terminal. 2. Remove the trunk lid panel. (Refer to Body - "Trunk Lid Back Panel") 3. Remove the license lamp after disengaging the license lamp mounting clip (A) 4. Remove the license lamp assembly after disconnecting the license connector (A).

    Hyundai Genesis (DH) 2013-2016 Service Manual: Auto Head Lamp Leveling Unit Description and Operation

    Description According to driving environment and loading state of vehicle, head lamp lighting direction is changed to keep the driver's visibility range and to protect the driver's vision from glare, aiming at safety driving. Sensor integrated ECU mounting on the rear center arm drives the actuator mounting on the head lamp since sens

    Categories

     
    Copyright В© 2026 www.hgenesisdh.com - 0.0222