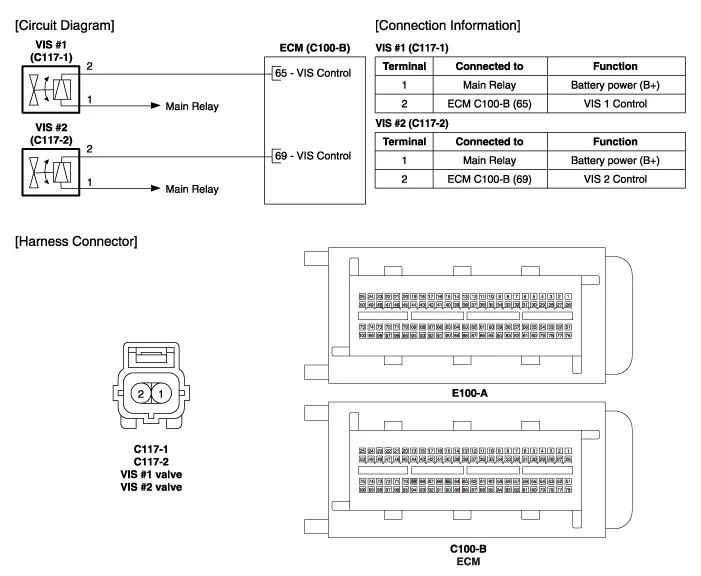
| Circuit Diagram |

Specification ItemSpecificationCoil Resistance (?)30.0 ~ 35.0 [20
Inspection 1. Turn the ignition switch OFF. 2. Disconnect the VIS valve connector. 3. Measure resistance between the VIS valve terminals 1 and 2.
Description The auto defogging sensor is installed on the front window glass. The sensor judges and sends signal if moisture occurs to blow out wind for defogging. The air conditioner control module receives signal from the sensor and restrains moisture and eliminate defog by controlling the intake actuator, A/C, auto defogging actuator,
Replacement 1. Remove both stoppers (B) by turning them from the glove box (A). 2. Disconnect the air damper (A) from the glove box (B). 3. Remove the filter cover (A) by pressing the knob. 4. Replace the air filter (A) with a new one according to the direction of air filter.