| Inspection |
| 1. |
Disconnect the negative (-) battery terminal. |
| 2. |
Pull out the relay from the engine compartment relay box. |
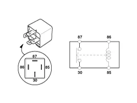
| 1. |
After supplying power to between No. 85 and 86 power relay
terminals, check that there is continuity between No. 30 and 87
terminals. |
| 2. |
After disconnecting power between No. 85 and 86 power relay
terminals, check that there is no continuity between No. 30 and 87
terminals.
Engine Room Relay Box
Diesel Box
|
| 1. |
After supplying power to between No. 85 and 86 power relay
terminals, check that there is continuity between No. 30 and 87
terminals. |
| 2. |
After disconnecting power between No. 85 and 86 power relay
terminals, check that there is no continuity between No. 30 and 87
terminals.
|
| 1. |
Disconnect the battery(-) terminals. |
| 2. |
Push the four hooks in the direction of the arrow and lift up the metal core PCB block (A).
|
| 3. |
Remove the metal core PCB by disconnecting the connector. |
| 1. |
Check that the fuse holders are loosely held and that the fuses are securely fixed by the holders. |
| 2. |
Check that each fuse circuit has the exact fuse capacity. |
| 3. |
Check the fuses for any damage.
|



|
Component Location Engine room junction block Battery junction block
Component Location Interior Junction Block
Inspection 1. Disconnect the negative (-) battery terminal. 2. Remove the crash pad lower panel. (Refer to Body - "Crash Pad Lower Panel") 3. Remove the lower crash pad switch assembly (A) after disengaging the mounting clip. 4. Remove the rheostat switch connector (A).
Inspection 1. Turn the ignition switch ON. 2. Manually operate the control switch and control the voltage of the blower motor. 3. Select the control switch to raise the voltage until high speed. Specification Fan Speed (Manual)Motor Voltage (V)13.