Hyundai Genesis (DH): Exhaust Emission Control System / CVVT (Continuously Variable Valve Timing) System Description and Operation

Hyundai Genesis (DH) 2013-2016 Service Manual / Emission Control System / Exhaust Emission Control System / CVVT (Continuously Variable Valve Timing) System Description and Operation

Description
Continuous Variable Valve Timing (CVVT) system advances or retards the valve timing of the intake and exhaust valve in accordance with the ECM control signal which is calculated by the engine speed and load.
By controlling CVVT, the valve over-lap or under-lap occurs, which makes better fuel economy and reduces exhaust gases (NOx, HC) and improves engine performance through reduction of pumping loss, internal EGR effect, improvement of combustion stability, improvement of volumetric efficiency, and increase of expansion work.
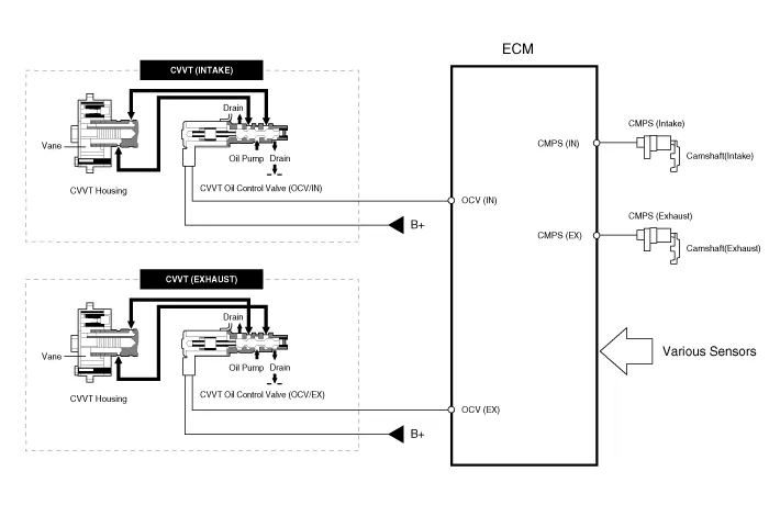
This system consists of
-
the CVVT Oil Control Valve (OCV) which supplies the engine oil to the cam phaser or takes out the engine oil from the cam phaser in accordance with the ECM PWM (Pulse With Modulation) control signal,
-
the CVVT Oil Temperature Sensor (OTS) which measures the engine oil temperature,
-
and the Cam Phaser which changes the cam phase by using the hydraulic force of the engine oil.
The engine oil which is supplied from the CVVT oil control valve changes the cam phase in the direction (Intake Advance/Exhaust Retard) or opposite direction (Intake Retard/Exhaust Advance) of the engine rotation by rotating the rotor connected with the camshaft inside the cam phaser.

Operation Principle
The CVVT has the mechanism rotating the rotor vane with hydraulic force generated by the engine oil supplied to the advance or retard chamber in accordance with the CVVT oil control valve control.

[CVVT System Mode]

(1) Low Speed / Low Load
(2) Part Load


(3) Low Speed / High Load
(4) High Speed / High Load



Driving
Condition
Exhaust Valve
Intake Valve
Valve
Timing
Effect
Valve
Timing
Effect
(1) Low Speed
/Low Load
Completely
Advance
* Valve Under-lap
* Improvement of combustion stability
Completely
Retard
* Valve Under-lap
* Improvement of combustion stability
(2) Part Load
Retard
* Increase of expansion work
* Reduction of pumping loss
* Reduction of HC
Retard
* Reduction of pumping loss
(3) Low Speed
/High Load
Retard
* Increase of expansion work
Advance
* Prevention of intake back flow (Improvement of volumetric efficiency)
(4) High Speed
/High Load
Advance
* Reduction of pumping loss
Retard
* Improvement of volumetric efficiency

    Removal (Refer to Engine Mechanical System - "Exhaust Manifold") Installation (Refer to Engine Mechanical System - "Exhaust Manifold")

    Other information:

    Hyundai Genesis (DH) 2013-2016 Service Manual: Auto Head Lamp Leveling Unit Troubleshooting

    Inspection with GDS Initialization and diagnosis sequence by using GDS equipment. The following is the summarized A/S procedure. NoProcedure1Park the vehicle on level ground2Tire check3IGN1 ON4Head lamp Low Beam ON5Connection with diagnostic tool6Initial command by diagnostic tool7Clear DTC Code8IGN1 OFF > ON9Re- Connection with diagnostic t

    Hyundai Genesis (DH) 2013-2016 Service Manual: Compressor Description and Operation

    Description The compressor is the power unit of the A/C system. It is located on the side of engine block and driven by a V-belt of the engine. The compressor changes low-pressure and low-temperature refrigerant gas into high-pressure and high-temperature refrigerant gas.

    Categories

     
    Copyright В© 2026 www.hgenesisdh.com - 0.0267