Hyundai Genesis (DH): IMS(Integrated Memory System) / Tilt & Telescope Control (SCM) Schematic Diagrams

Circuit Diagram

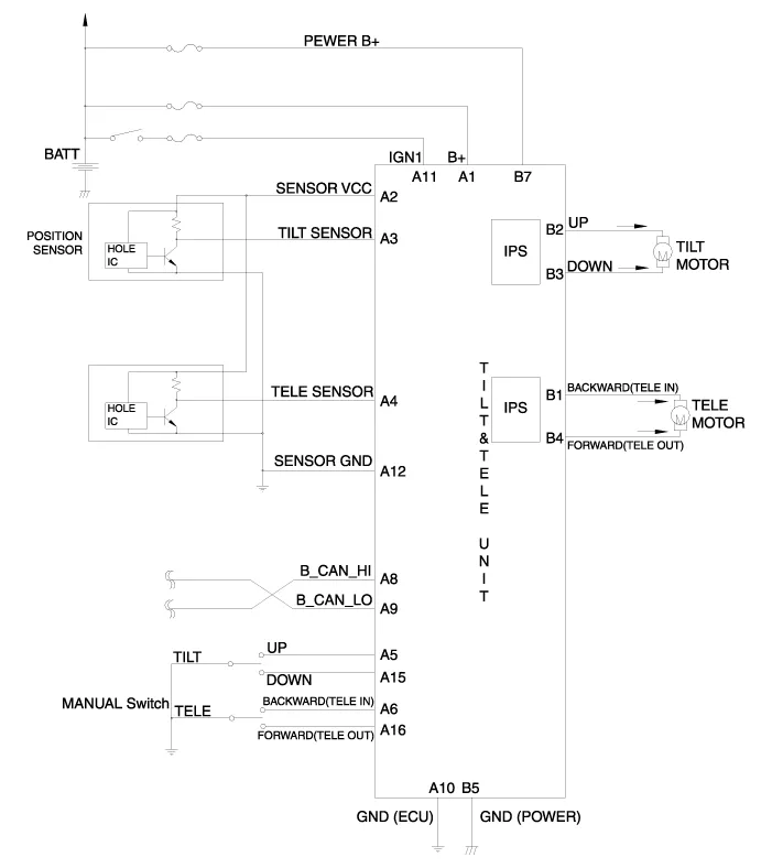
NO.
Function (Connector A)
NO.
Function (Connector B)
1
B+ (ECU)
1
Tele motor backward (tele in)
2
Sensor VCC
2
Tilt motor up
3
Tilt sensor
3
Tilt motor down
4
Tele sensor
4
Tele motor forward (tele out)
5
Tilt up switch
5
Power GND
6
Tele backward (tele in) 5W
6
-
7
-
7
Power B+
8
B_CAN_High
8
-
9
B_CAN_Low
9
-
10
ECU GND
10
-
11
IGN1
11
-
12
Sensor GND
12
-
13
-
13
-
14
-
14
-
15
Tilt down switch
15
-
16
Tele forward (tele out) switch
16
-
17
-
17
-
18
-
18
-
19
-
19
-
20
-
20
-

    Description The Tilt & Telescope operation function in SCM contains of the following function. 1. Manual control with direction switches (Tilt Up/Down, Telescope Forward/Backward).

    Inspection Ims Mode Setting With GDS 1. You can turn ON/OFF of IMS tilt & telescope control option with the user option program. 2. Select model and "body control module" menu.

    Other information:

    Hyundai Genesis (DH) 2013-2016 Service Manual: PGS Unit (Back & Blinde Unit) Repair procedures

    Removal 1. Disconnect the negative (-) battery terminal. 2. Remove the glove box housing (A). (Refer to Body - "Glove Box") 3. Remove the PGS unit (A) after loosening the nuts. Installation 1. Install the PGS unit. 2. Install the glove box housing.

    Hyundai Genesis (DH) 2013-2016 Service Manual: Heater Unit Components and Components Location

    Component Location Components (1) 1. Shower duct (Left)2. Mode actuator (LH)3. Temperature control actuator (LH)4. Temperature door lever (Left)5. Mode actuator (A)6. Console temperature actuator (A)7. Console mode actuator ON/OFF8. Heater case (Left)9.

    Categories

     
    Copyright В© 2026 www.hgenesisdh.com - 0.0223